DN-65-100 (схема-17) с заслонкой регулирующей дроссельного типа Стальные DN 40-200 (схема 3) с заслонкой регулирующей
DN 40-100 (схема 7) с заслонкой регулирующей дроссельного типа
Description
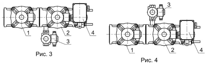
Описание
Блок состоит из следующих основных узлов и деталей:
- основного запорного клапана 1;
- рабочего клапана 2;
- клапана свечи безопасности 3;
- заслонки регулирующей дроссельного типа 4.
Клапан свечи безопасности может располагаться:
- справа по ходу газа (рис. 3);
- слева по ходу газа (рис. 4).

Технические характеристики
| Обозначение | Номинальный диаметр DN | №, тип клапана в схеме | Основные размеры, мм, не более | Масса, кг, не более | ||||||||
| L | B | H | A | L1 | L2 | B1 | ||||||
| мм | дюймы | |||||||||||
| С1½Н-3-157 ЗРВ ... | 40 | 1½ | 1) ВН1½Н-1 (К, П) 2) ВН1½Н-1 (П) |
3) ВФ¾Н-4 (П) 4) ЗР1½-6 В ПР |
205 | 225 | 345 | 75 | 28,5 | 105 | 165 | 15,0 |
| С2Н-3-158 ЗРВ ... | 50 | 2 | 1) ВН2Н-1 (К, П) 2) ВН2Н-1 (П) |
3) ВФ¾Н-4 (П) 4) ЗР2-6 В ПР |
207 | 235 | 350 | 77 | 28,5 | 105 | 170 | 16,5 |
| С2½Н-3-16 ЗРВ ... | 65 | 2½ | 1) ВН2½Н-0,5* (К, П) 2) ВН2½Н-0,5* (П) |
3) ВФ¾Н-4 (П) 4) ЗР2½-6 В ПР |
530 | 270 | 375 | 86 | 42,5 | 150 | 185 | 25,8 |
| С3Н-3-20 ЗРВ ... | 80 | 3 | 1) ВН3Н-0,5* (К, П) 2) ВН3Н-0,5* (П) |
3) ВФ¾Н-4 (П) 4) ЗР3-6 В ПР |
576 | 280 | 392 | 95 | 39 | 180 | 190 | 30,2 |
| С4Н-3-28 ЗРВ ... | 100 | 4 | 1) ВН4Н-0,5* (К, П) 2) ВН4Н-0,5* (П) |
3) ВФ¾Н-4 (П) 4) ЗР4-6 В ПР |
616 | 300 | 415 | 110 | 41,5 | 195 | 200 | 36,0 |
Сертификаты / Документы
- Блоки клапанов в алюминиевом корпусе
- Декларация ТР ТС 004/2011 Клапаны электромагнитные (схема 1Д)
- Декларация ТР ТС 010/2011 Клапаны электромагнитные (схема 5Д)
- Декларация ТР ТС 020/2011 Клапаны электромагнитные (схема 1Д)
- Декларация ТР ТС 032/2011 Клапаны электромагнитные (схема 1Д)
- Декларация ТР ТС 004/2011 Заслонки регулирующие (схема 1Д)
- Декларация ТР ТС 032/2013 Заслонки регулирующие (схема 1Д)


