Регулирующие дроссельного типа DN 65-100, с электроприводом Регулирующие DN 125-200, стальные, с электроприводом
Регулирующие дроссельного типа DN 150-300, стальные, с ручным управлением
ручное управление
Description
Заслонки регулирующие предназначены для использования в системах дистанционного управления потоками различных газовых сред, в том числе углеводородных газов, газовых фаз сжиженных газов, сжатого воздуха и других неагрессивных газов в качестве регулирующего органа.
Заслонки применяются для плавного регулирования расхода газа и не являются запорным органом.
МАТЕРИАЛ КОРПУСА:
- Легированная сталь.
КЛИМАТИЧЕСКОЕ ИСПОЛНЕНИЕ:
- У3.1 (-30...+40 °C);
- У2 (-45...+40 °C);
- УХЛ1 (-45...+40 °C).
МАКСИМАЛЬНОЕ РАБОЧЕЕ ДАВЛЕНИЕ:
- 6 бар (0,6 МПа).
ТЕМПЕРАТУРА РАБОЧЕЙ СРЕДЫ:
- -60...+120 °C.
СТЕПЕНЬ ЗАЩИТЫ:
- общепромышленное исполнение - IP54.
ДИАПАЗОН РЕГУЛИРОВАНИЯ:
- от 2 % до 100 % от номинального расхода.
УГОЛ ПОВОРОТА ЗАСЛОНКИ:
- макс. 90°
МОНТАЖНОЕ ПОЛОЖЕНИЕ:
- на горизонтальных и вертикальных трубопроводах.
Модификации

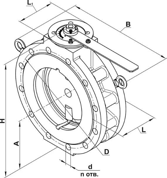
Габаритные и присоединительные размеры заслонок регулирующих дроссельного типа в стальном корпусе с ручным управлением
|
Наименование
заслонки
|
DN |
Диапазон
присоединительного
давления, МПа
|
Размеры, мм
|
n
|
Масса,
кг
|
||||||
|
L
|
L1
|
B
|
H
|
A
|
D
|
d
|
|||||
| ЗР6-6 В Р. ст. | 150 | 0...0,6 | 88 | 115 | 335 | 305 | 120 | 225 | 18 | 8 | 17 |
| ЗР8-6 В Р. ст. | 200 | 0...0,6 | 88 | 115 | 365 | 360 | 146 | 280 | 18 | 8 | 22 |
| ЗР6-10 В Р. ст. | 250 | 0...0,6 | 120 | 148 | 512 | 452 | 193 | 350 | 22 | 12 | 61 |
| ЗР6-12 В Р. ст. | 300 | 0...0,6 | 120 | 148 | 535 | 505 | 220 | 400 | 22 | 12 | 72 |

