Фланцевые DN 50-100, с ИЗФ механического типа, с присоединительными фланцами PN 16
Фильтры предназначены для установки на газопроводах перед запорно-регулирующей арматурой газогорелочных устройств котлов, теплогенераторов, инфракрасных обогревателей и других газосжигающих установках с целью очистки газа от механических частиц для повышения надежности и долговечности работы оборудования.
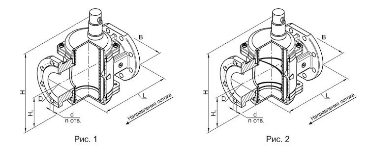
Встроенный индикатор загрязненности фильтрующего элемента позволяет контролировать степень загрязнения фильтра. Контроль загрязненности осуществляется визуально, по мере перекрытия смотрового окна индикаторным элементом.
МАТЕРИАЛ КОРПУСА:
- Алюминиевые сплавы АК12ОЧ, АК12ПЧ.
КЛИМАТИЧЕСКОЕ ИСПОЛНЕНИЕ:
- У3.1 (-30...+60 °C);
- У2 (-45...+60 °C);
- УХЛ1 (-60...+60 °C).
МАКСИМАЛЬНОЕ РАБОЧЕЕ ДАВЛЕНИЕ:
- 3 бар (0,3 МПа);
- 6 бар (0,6 МПа);
МАТЕРИАЛ ФИЛЬТРУЮЩИХ ЭЛЕМЕНТОВ (СТЕПЕНЬ ФИЛЬТРАЦИИ):
| Материал фильтрующего элемента | Степень фильтрации |
| Полимерный (полиэтилен) | 2 мкм |
| 5 мкм | |
| 10 мкм | |
| 20 мкм | |
| 50 мкм (по умолчанию) | |
| Сетчатый (металлическая сетка) | 400 мкм |
| 600 мкм | |
| 800 мкм |
МАКСИМАЛЬНЫЙ ПЕРЕПАД ДАВЛЕНИЯ НА ФИЛЬТРЕ, КОНТРОЛИРУЕМЫЙ ИНДИКАТОРОМ ЗАГРЯЗНЕННОСТИ:
- 10 кПа.
ТЕМПЕРАТУРА РАБОЧЕЙ СРЕДЫ:
- (-40...+90 °C) - для фильтров с полимерным фильтрующим элементом;
- (-60...+120 °C) - для фильтров с сетчатым фильтрующим элементом.
МОНТАЖНОЕ ПОЛОЖЕНИЕ:
- на горизонтальных или вертикальных трубопроводах.
ДОПОЛНИТЕЛЬНО:
- Возможно изготовление фильтров со встроенным конденсатоотводом;
- Конструкция фильтра позволяет снимать фильтрующий элемент для его очистки или замены без демонтажа фильтра с трубопровода.
Модификации

|
Наименование фильтра
|
Исполнение
|
DN
|
Давление рабочее максимальное, МПа
|
Рабочая площадь фильтр. элемента, м2
|
Размеры, мм |
n
|
Масса, кг
|
Коэффициент сопротивления
|
Рис.
|
|||||
| L | B | H | Н1 | D | d | |||||||||
| ФН2-2М фл. |
с присоедини-тельными
фланцами PN16
|
50
|
0,3 |
0,03
|
230
|
165
|
282
|
94
|
125
|
18
|
4
|
5,0
|
3,0
|
1 |
| ФН2-6М фл. | 0,6 | 2 | ||||||||||||
| ФН2½-1М | 65 | 0,3 | 0,04 | 260 | 185 | 310 | 108 | 145 | 6,4 | 2,9 | 1 | |||
| ФН2½-6М | 0,6 | 2 | ||||||||||||
| ФН3-1М |
80
|
0,3 |
0,05
|
290
|
200
|
320
|
113
|
160
|
8
|
7,5
|
3,0
|
1
|
||
| ФН3-6М | 0,6 | 2 | ||||||||||||
| ФН4-1М |
100
|
0,3 |
0,06
|
314
|
220
|
346
|
126
|
180
|
9,7
|
4,4
|
1
|
|||
| ФН4-6М | 0,6 | 2 | ||||||||||||

